Brannock Device

From Handwiki

Short description: Shoe size measuring instrument
Brannock Device[1]
Brannock Device at shoe museum in Zlín, Czechia

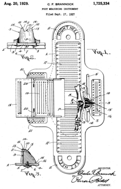
The Brannock Device is a measuring instrument invented by Charles F. Brannock for measuring a person's shoe size. Brannock spent two years developing a simple means of measuring the length, width, and arch length of the human foot. He eventually improved on the wooden RITZ Stick, the industry standard of the day,[2] patenting his first prototype in 1925[3] and an improved version in 1927.[1] The device has both left and right heel cups and is rotated through 180 degrees to measure the second foot. Brannock later formed the Brannock Device Company to manufacture and sell the product, and headed the company until 1992 when he died at age 89. The Smithsonian Institution has the nearly complete records of the development of the Brannock Device and subsequent marketing.[4]

The Brannock Device Company was headquartered in Syracuse, New York, until shortly after Charles Brannock's death. Salvatore Leonardi purchased the company from the Brannock Estate in 1993, and moved manufacturing to a small factory in Liverpool, New York.

On May 31, 2018, the Syracuse minor league baseball team had a one-night promotion and rebranded as the Syracuse Devices in honor of the Brannock Device.[5]

Sizing system

The modern Brannock device takes three measurements of each foot:

Foot length
the length from heel to the tip of the longest toe
Arch length
the length from heel to the inside of the ball of the foot, or medial metatarsophalangeal joint
Width
the width of the foot perpendicular to the length

Foot and arch lengths correspond to numeric Brannock sizes, and foot widths correspond to letter Brannock widths AAAA (narrowest) to EEEE (widest), as follows:

[math]\displaystyle{ \text{Foot Length} = 7\tfrac{1}{3}\text{ inches} + (\text{Men's Brannock Size} \times \tfrac{1}{3}\text{ inch}) }[/math]

[math]\displaystyle{ \text{Arch Length} = 5\tfrac{18}{50}\text{ inches} + (\text{Men's Brannock Size} \times \tfrac{11}{50}\text{ inch}) }[/math]

[math]\displaystyle{ \text{Width} = 1\tfrac{10}{16}\text{ inches} + (\text{Men's Brannock Size} \times \tfrac{1}{8}\text{ inch}) + (\text{Steps Up From AAAA} \times \tfrac{3}{16}\text{ inch}) }[/math]

Women's Brannock sizes are offset from men's by one:

[math]\displaystyle{ \text{Women's Brannock Size} = \text{Men's Brannock Size} + 1 }[/math]

Template:Scrolling table/top |- ! 16 |- ! ​16 12 |- ! 17 |- ! ​17 12 |- ! 18 |- ! ​18 12 |- ! 19 |- ! ​19 12 |- ! 20 |- ! ​20 12 |- ! 21 |- ! ​21 12 |- ! 22 |- ! ​22 12 |- ! 23 |- ! ​23 12 |- ! 24 |- ! ​24 12 |- ! 25 |- ! ​25 12 Template:Scrolling table/mid |- ! Heel-to-Toe (Foot) Length !! Heel-to-Ball (Arch) Length !! AAAA !! AAA !! AA !! A !! B !! C !! D !! E !! EE  !! EEE !! EEEE |- | 7 23 inches (19.5 cm) | 5 2950 inches (14.2 cm) | 1 34 inches (4.4 cm) | 1 1516 inches (4.9 cm) | 2 18 inches (5.4 cm) | 2 516 inches (5.9 cm) | 2 12 inches (6.4 cm) | 2 1116 inches (6.8 cm) | 2 78 inches (7.3 cm) | 3 116 inches (7.8 cm) | 3 14 inches (8.3 cm) | 3 716 inches (8.7 cm) | 3 58 inches (9.2 cm)

|- | 7 56 inches (19.9 cm) | 5 69100 inches (14.5 cm) | 1 1316 inches (4.6 cm) | 2 inches (5.1 cm) | 2 316 inches (5.6 cm) | 2 38 inches (6.0 cm) | 2 916 inches (6.5 cm) | 2 34 inches (7.0 cm) | 2 1516 inches (7.5 cm) | 3 18 inches (7.9 cm) | 3 516 inches (8.4 cm) | 3 12 inches (8.9 cm) | 3 1116 inches (9.4 cm)

|- | 8 inches (20.3 cm) | 5 45 inches (14.7 cm) | 1 78 inches (4.8 cm) | 2 116 inches (5.2 cm) | 2 14 inches (5.7 cm) | 2 716 inches (6.2 cm) | 2 58 inches (6.7 cm) | 2 1316 inches (7.1 cm) | 3 inches (7.6 cm) | 3 316 inches (8.1 cm) | 3 38 inches (8.6 cm) | 3 916 inches (9.0 cm) | 3 34 inches (9.5 cm)

|- | 8 16 inches (20.7 cm) | 5 91100 inches (15.0 cm) | 1 1516 inches (4.9 cm) | 2 18 inches (5.4 cm) | 2 516 inches (5.9 cm) | 2 12 inches (6.4 cm) | 2 1116 inches (6.8 cm) | 2 78 inches (7.3 cm) | 3 116 inches (7.8 cm) | 3 14 inches (8.3 cm) | 3 716 inches (8.7 cm) | 3 58 inches (9.2 cm) | 3 1316 inches (9.7 cm)

|- | 8 13 inches (21.2 cm) | 6 150 inches (15.3 cm) | 2 inches (5.1 cm) | 2 316 inches (5.6 cm) | 2 38 inches (6.0 cm) | 2 916 inches (6.5 cm) | 2 34 inches (7.0 cm) | 2 1516 inches (7.5 cm) | 3 18 inches (7.9 cm) | 3 516 inches (8.4 cm) | 3 12 inches (8.9 cm) | 3 1116 inches (9.4 cm) | 3 78 inches (9.8 cm)

|- | 8 12 inches (21.6 cm) | 6 13100 inches (15.6 cm) | 2 116 inches (5.2 cm) | 2 14 inches (5.7 cm) | 2 716 inches (6.2 cm) | 2 58 inches (6.7 cm) | 2 1316 inches (7.1 cm) | 3 inches (7.6 cm) | 3 316 inches (8.1 cm) | 3 38 inches (8.6 cm) | 3 916 inches (9.0 cm) | 3 34 inches (9.5 cm) | 3 1516 inches (10.0 cm)

|- | 8 23 inches (22.0 cm) | 6 625 inches (15.8 cm) | 2 18 inches (5.4 cm) | 2 516 inches (5.9 cm) | 2 12 inches (6.4 cm) | 2 1116 inches (6.8 cm) | 2 78 inches (7.3 cm) | 3 116 inches (7.8 cm) | 3 14 inches (8.3 cm) | 3 716 inches (8.7 cm) | 3 58 inches (9.2 cm) | 3 1316 inches (9.7 cm) | 4 inches (10.2 cm)

|- | 8 56 inches (22.4 cm) | 6 720 inches (16.1 cm) | 2 316 inches (5.6 cm) | 2 38 inches (6.0 cm) | 2 916 inches (6.5 cm) | 2 34 inches (7.0 cm) | 2 1516 inches (7.5 cm) | 3 18 inches (7.9 cm) | 3 516 inches (8.4 cm) | 3 12 inches (8.9 cm) | 3 1116 inches (9.4 cm) | 3 78 inches (9.8 cm) | 4 116 inches (10.3 cm)

|- | 9 inches (22.9 cm) | 6 2350 inches (16.4 cm) | 2 14 inches (5.7 cm) | 2 716 inches (6.2 cm) | 2 58 inches (6.7 cm) | 2 1316 inches (7.1 cm) | 3 inches (7.6 cm) | 3 316 inches (8.1 cm) | 3 38 inches (8.6 cm) | 3 916 inches (9.0 cm) | 3 34 inches (9.5 cm) | 3 1516 inches (10.0 cm) | 4 18 inches (10.5 cm)

|- | 9 16 inches (23.3 cm) | 6 57100 inches (16.7 cm) | 2 516 inches (5.9 cm) | 2 12 inches (6.4 cm) | 2 1116 inches (6.8 cm) | 2 78 inches (7.3 cm) | 3 116 inches (7.8 cm) | 3 14 inches (8.3 cm) | 3 716 inches (8.7 cm) | 3 58 inches (9.2 cm) | 3 1316 inches (9.7 cm) | 4 inches (10.2 cm) | 4 316 inches (10.6 cm)

|- | 9 13 inches (23.7 cm) | 6 1725 inches (17.0 cm) | 2 38 inches (6.0 cm) | 2 916 inches (6.5 cm) | 2 34 inches (7.0 cm) | 2 1516 inches (7.5 cm) | 3 18 inches (7.9 cm) | 3 516 inches (8.4 cm) | 3 12 inches (8.9 cm) | 3 1116 inches (9.4 cm) | 3 78 inches (9.8 cm) | 4 116 inches (10.3 cm) | 4 14 inches (10.8 cm)

|- | 9 12 inches (24.1 cm) | 6 79100 inches (17.2 cm) | 2 716 inches (6.2 cm) | 2 58 inches (6.7 cm) | 2 1316 inches (7.1 cm) | 3 inches (7.6 cm) | 3 316 inches (8.1 cm) | 3 38 inches (8.6 cm) | 3 916 inches (9.0 cm) | 3 34 inches (9.5 cm) | 3 1516 inches (10.0 cm) | 4 18 inches (10.5 cm) | 4 516 inches (11.0 cm)

|- | 9 23 inches (24.6 cm) | 6 910 inches (17.5 cm) | 2 12 inches (6.4 cm) | 2 1116 inches (6.8 cm) | 2 78 inches (7.3 cm) | 3 116 inches (7.8 cm) | 3 14 inches (8.3 cm) | 3 716 inches (8.7 cm) | 3 58 inches (9.2 cm) | 3 1316 inches (9.7 cm) | 4 inches (10.2 cm) | 4 316 inches (10.6 cm) | 4 38 inches (11.1 cm)

|- | 9 56 inches (25.0 cm) | 7 1100 inches (17.8 cm) | 2 916 inches (6.5 cm) | 2 34 inches (7.0 cm) | 2 1516 inches (7.5 cm) | 3 18 inches (7.9 cm) | 3 516 inches (8.4 cm) | 3 12 inches (8.9 cm) | 3 1116 inches (9.4 cm) | 3 78 inches (9.8 cm) | 4 116 inches (10.3 cm) | 4 14 inches (10.8 cm) | 4 716 inches (11.3 cm)

|- | 10 inches (25.4 cm) | 7 325 inches (18.1 cm) | 2 58 inches (6.7 cm) | 2 1316 inches (7.1 cm) | 3 inches (7.6 cm) | 3 316 inches (8.1 cm) | 3 38 inches (8.6 cm) | 3 916 inches (9.0 cm) | 3 34 inches (9.5 cm) | 3 1516 inches (10.0 cm) | 4 18 inches (10.5 cm) | 4 516 inches (11.0 cm) | 4 12 inches (11.4 cm)

|- | 10 16 inches (25.8 cm) | 7 23100 inches (18.4 cm) | 2 1116 inches (6.8 cm) | 2 78 inches (7.3 cm) | 3 116 inches (7.8 cm) | 3 14 inches (8.3 cm) | 3 716 inches (8.7 cm) | 3 58 inches (9.2 cm) | 3 1316 inches (9.7 cm) | 4 inches (10.2 cm) | 4 316 inches (10.6 cm) | 4 38 inches (11.1 cm) | 4 916 inches (11.6 cm)

|- | 10 13 inches (26.2 cm) | 7 1750 inches (18.6 cm) | 2 34 inches (7.0 cm) | 2 1516 inches (7.5 cm) | 3 18 inches (7.9 cm) | 3 516 inches (8.4 cm) | 3 12 inches (8.9 cm) | 3 1116 inches (9.4 cm) | 3 78 inches (9.8 cm) | 4 116 inches (10.3 cm) | 4 14 inches (10.8 cm) | 4 716 inches (11.3 cm) | 4 58 inches (11.7 cm)

|- | 10 12 inches (26.7 cm) | 7 920 inches (18.9 cm) | 2 1316 inches (7.1 cm) | 3 inches (7.6 cm) | 3 316 inches (8.1 cm) | 3 38 inches (8.6 cm) | 3 916 inches (9.0 cm) | 3 34 inches (9.5 cm) | 3 1516 inches (10.0 cm) | 4 18 inches (10.5 cm) | 4 516 inches (11.0 cm) | 4 12 inches (11.4 cm) | 4 1116 inches (11.9 cm)

|- | 10 23 inches (27.1 cm) | 7 1425 inches (19.2 cm) | 2 78 inches (7.3 cm) | 3 116 inches (7.8 cm) | 3 14 inches (8.3 cm) | 3 716 inches (8.7 cm) | 3 58 inches (9.2 cm) | 3 1316 inches (9.7 cm) | 4 inches (10.2 cm) | 4 316 inches (10.6 cm) | 4 38 inches (11.1 cm) | 4 916 inches (11.6 cm) | 4 34 inches (12.1 cm)

|- | 10 56 inches (27.5 cm) | 7 67100 inches (19.5 cm) | 2 1516 inches (7.5 cm) | 3 18 inches (7.9 cm) | 3 516 inches (8.4 cm) | 3 12 inches (8.9 cm) | 3 1116 inches (9.4 cm) | 3 78 inches (9.8 cm) | 4 116 inches (10.3 cm) | 4 14 inches (10.8 cm) | 4 716 inches (11.3 cm) | 4 58 inches (11.7 cm) | 4 1316 inches (12.2 cm)

|- | 11 inches (27.9 cm) | 7 3950 inches (19.8 cm) | 3 inches (7.6 cm) | 3 316 inches (8.1 cm) | 3 38 inches (8.6 cm) | 3 916 inches (9.0 cm) | 3 34 inches (9.5 cm) | 3 1516 inches (10.0 cm) | 4 18 inches (10.5 cm) | 4 516 inches (11.0 cm) | 4 12 inches (11.4 cm) | 4 1116 inches (11.9 cm) | 4 78 inches (12.4 cm)

|- | 11 16 inches (28.4 cm) | 7 89100 inches (20.0 cm) | 3 116 inches (7.8 cm) | 3 14 inches (8.3 cm) | 3 716 inches (8.7 cm) | 3 58 inches (9.2 cm) | 3 1316 inches (9.7 cm) | 4 inches (10.2 cm) | 4 316 inches (10.6 cm) | 4 38 inches (11.1 cm) | 4 916 inches (11.6 cm) | 4 34 inches (12.1 cm) | 4 1516 inches (12.5 cm)

|- | 11 13 inches (28.8 cm) | 8 inches (20.3 cm) | 3 18 inches (7.9 cm) | 3 516 inches (8.4 cm) | 3 12 inches (8.9 cm) | 3 1116 inches (9.4 cm) | 3 78 inches (9.8 cm) | 4 116 inches (10.3 cm) | 4 14 inches (10.8 cm) | 4 716 inches (11.3 cm) | 4 58 inches (11.7 cm) | 4 1316 inches (12.2 cm) | 5 inches (12.7 cm)

|- | 11 12 inches (29.2 cm) | 8 11100 inches (20.6 cm) | 3 316 inches (8.1 cm) | 3 38 inches (8.6 cm) | 3 916 inches (9.0 cm) | 3 34 inches (9.5 cm) | 3 1516 inches (10.0 cm) | 4 18 inches (10.5 cm) | 4 516 inches (11.0 cm) | 4 12 inches (11.4 cm) | 4 1116 inches (11.9 cm) | 4 78 inches (12.4 cm) | 5 116 inches (12.9 cm)

|- | 11 23 inches (29.6 cm) | 8 1150 inches (20.9 cm) | 3 14 inches (8.3 cm) | 3 716 inches (8.7 cm) | 3 58 inches (9.2 cm) | 3 1316 inches (9.7 cm) | 4 inches (10.2 cm) | 4 316 inches (10.6 cm) | 4 38 inches (11.1 cm) | 4 916 inches (11.6 cm) | 4 34 inches (12.1 cm) | 4 1516 inches (12.5 cm) | 5 18 inches (13.0 cm)

|- | 11 56 inches (30.1 cm) | 8 33100 inches (21.2 cm) | 3 516 inches (8.4 cm) | 3 12 inches (8.9 cm) | 3 1116 inches (9.4 cm) | 3 78 inches (9.8 cm) | 4 116 inches (10.3 cm) | 4 14 inches (10.8 cm) | 4 716 inches (11.3 cm) | 4 58 inches (11.7 cm) | 4 1316 inches (12.2 cm) | 5 inches (12.7 cm) | 5 316 inches (13.2 cm)

|- | 12 inches (30.5 cm) | 8 1125 inches (21.4 cm) | 3 38 inches (8.6 cm) | 3 916 inches (9.0 cm) | 3 34 inches (9.5 cm) | 3 1516 inches (10.0 cm) | 4 18 inches (10.5 cm) | 4 516 inches (11.0 cm) | 4 12 inches (11.4 cm) | 4 1116 inches (11.9 cm) | 4 78 inches (12.4 cm) | 5 116 inches (12.9 cm) | 5 14 inches (13.3 cm)

|- | 12 16 inches (30.9 cm) | 8 1120 inches (21.7 cm) | 3 716 inches (8.7 cm) | 3 58 inches (9.2 cm) | 3 1316 inches (9.7 cm) | 4 inches (10.2 cm) | 4 316 inches (10.6 cm) | 4 38 inches (11.1 cm) | 4 916 inches (11.6 cm) | 4 34 inches (12.1 cm) | 4 1516 inches (12.5 cm) | 5 18 inches (13.0 cm) | 5 516 inches (13.5 cm)

|- | 12 13 inches (31.3 cm) | 8 3350 inches (22.0 cm) | 3 12 inches (8.9 cm) | 3 1116 inches (9.4 cm) | 3 78 inches (9.8 cm) | 4 116 inches (10.3 cm) | 4 14 inches (10.8 cm) | 4 716 inches (11.3 cm) | 4 58 inches (11.7 cm) | 4 1316 inches (12.2 cm) | 5 inches (12.7 cm) | 5 316 inches (13.2 cm) | 5 38 inches (13.7 cm)

|- | 12 12 inches (31.8 cm) | 8 77100 inches (22.3 cm) | 3 916 inches (9.0 cm) | 3 34 inches (9.5 cm) | 3 1516 inches (10.0 cm) | 4 18 inches (10.5 cm) | 4 516 inches (11.0 cm) | 4 12 inches (11.4 cm) | 4 1116 inches (11.9 cm) | 4 78 inches (12.4 cm) | 5 116 inches (12.9 cm) | 5 14 inches (13.3 cm) | 5 716 inches (13.8 cm)

|- | 12 23 inches (32.2 cm) | 8 2225 inches (22.6 cm) | 3 58 inches (9.2 cm) | 3 1316 inches (9.7 cm) | 4 inches (10.2 cm) | 4 316 inches (10.6 cm) | 4 38 inches (11.1 cm) | 4 916 inches (11.6 cm) | 4 34 inches (12.1 cm) | 4 1516 inches (12.5 cm) | 5 18 inches (13.0 cm) | 5 516 inches (13.5 cm) | 5 12 inches (14.0 cm)

|- | 12 56 inches (32.6 cm) | 8 99100 inches (22.8 cm) | 3 1116 inches (9.4 cm) | 3 78 inches (9.8 cm) | 4 116 inches (10.3 cm) | 4 14 inches (10.8 cm) | 4 716 inches (11.3 cm) | 4 58 inches (11.7 cm) | 4 1316 inches (12.2 cm) | 5 inches (12.7 cm) | 5 316 inches (13.2 cm) | 5 38 inches (13.7 cm) | 5 916 inches (14.1 cm)

|- | 13 inches (33.0 cm) | 9 110 inches (23.1 cm) | 3 34 inches (9.5 cm) | 3 1516 inches (10.0 cm) | 4 18 inches (10.5 cm) | 4 516 inches (11.0 cm) | 4 12 inches (11.4 cm) | 4 1116 inches (11.9 cm) | 4 78 inches (12.4 cm) | 5 116 inches (12.9 cm) | 5 14 inches (13.3 cm) | 5 716 inches (13.8 cm) | 5 58 inches (14.3 cm)

|- | 13 16 inches (33.4 cm) | 9 21100 inches (23.4 cm) | 3 1316 inches (9.7 cm) | 4 inches (10.2 cm) | 4 316 inches (10.6 cm) | 4 38 inches (11.1 cm) | 4 916 inches (11.6 cm) | 4 34 inches (12.1 cm) | 4 1516 inches (12.5 cm) | 5 18 inches (13.0 cm) | 5 516 inches (13.5 cm) | 5 12 inches (14.0 cm) | 5 1116 inches (14.4 cm)

|- | 13 13 inches (33.9 cm) | 9 825 inches (23.7 cm) | 3 78 inches (9.8 cm) | 4 116 inches (10.3 cm) | 4 14 inches (10.8 cm) | 4 716 inches (11.3 cm) | 4 58 inches (11.7 cm) | 4 1316 inches (12.2 cm) | 5 inches (12.7 cm) | 5 316 inches (13.2 cm) | 5 38 inches (13.7 cm) | 5 916 inches (14.1 cm) | 5 34 inches (14.6 cm)

|- | 13 12 inches (34.3 cm) | 9 43100 inches (24.0 cm) | 3 1516 inches (10.0 cm) | 4 18 inches (10.5 cm) | 4 516 inches (11.0 cm) | 4 12 inches (11.4 cm) | 4 1116 inches (11.9 cm) | 4 78 inches (12.4 cm) | 5 116 inches (12.9 cm) | 5 14 inches (13.3 cm) | 5 716 inches (13.8 cm) | 5 58 inches (14.3 cm) | 5 1316 inches (14.8 cm)

|- | 13 23 inches (34.7 cm) | 9 2750 inches (24.2 cm) | 4 inches (10.2 cm) | 4 316 inches (10.6 cm) | 4 38 inches (11.1 cm) | 4 916 inches (11.6 cm) | 4 34 inches (12.1 cm) | 4 1516 inches (12.5 cm) | 5 18 inches (13.0 cm) | 5 516 inches (13.5 cm) | 5 12 inches (14.0 cm) | 5 1116 inches (14.4 cm) | 5 78 inches (14.9 cm)

|- | 13 56 inches (35.1 cm) | 9 1320 inches (24.5 cm) | 4 116 inches (10.3 cm) | 4 14 inches (10.8 cm) | 4 716 inches (11.3 cm) | 4 58 inches (11.7 cm) | 4 1316 inches (12.2 cm) | 5 inches (12.7 cm) | 5 316 inches (13.2 cm) | 5 38 inches (13.7 cm) | 5 916 inches (14.1 cm) | 5 34 inches (14.6 cm) | 5 1516 inches (15.1 cm)

|- | 14 inches (35.6 cm) | 9 1925 inches (24.8 cm) | 4 18 inches (10.5 cm) | 4 516 inches (11.0 cm) | 4 12 inches (11.4 cm) | 4 1116 inches (11.9 cm) | 4 78 inches (12.4 cm) | 5 116 inches (12.9 cm) | 5 14 inches (13.3 cm) | 5 716 inches (13.8 cm) | 5 58 inches (14.3 cm) | 5 1316 inches (14.8 cm) | 6 inches (15.2 cm)

|- | 14 16 inches (36.0 cm) | 9 87100 inches (25.1 cm) | 4 316 inches (10.6 cm) | 4 38 inches (11.1 cm) | 4 916 inches (11.6 cm) | 4 34 inches (12.1 cm) | 4 1516 inches (12.5 cm) | 5 18 inches (13.0 cm) | 5 516 inches (13.5 cm) | 5 12 inches (14.0 cm) | 5 1116 inches (14.4 cm) | 5 78 inches (14.9 cm) | 6 116 inches (15.4 cm)

|- | 14 13 inches (36.4 cm) | 9 4950 inches (25.3 cm) | 4 14 inches (10.8 cm) | 4 716 inches (11.3 cm) | 4 58 inches (11.7 cm) | 4 1316 inches (12.2 cm) | 5 inches (12.7 cm) | 5 316 inches (13.2 cm) | 5 38 inches (13.7 cm) | 5 916 inches (14.1 cm) | 5 34 inches (14.6 cm) | 5 1516 inches (15.1 cm) | 6 18 inches (15.6 cm)

|- | 14 12 inches (36.8 cm) | 10 9100 inches (25.6 cm) | 4 516 inches (11.0 cm) | 4 12 inches (11.4 cm) | 4 1116 inches (11.9 cm) | 4 78 inches (12.4 cm) | 5 116 inches (12.9 cm) | 5 14 inches (13.3 cm) | 5 716 inches (13.8 cm) | 5 58 inches (14.3 cm) | 5 1316 inches (14.8 cm) | 6 inches (15.2 cm) | 6 316 inches (15.7 cm)

|- | 14 23 inches (37.3 cm) | 10 15 inches (25.9 cm) | 4 38 inches (11.1 cm) | 4 916 inches (11.6 cm) | 4 34 inches (12.1 cm) | 4 1516 inches (12.5 cm) | 5 18 inches (13.0 cm) | 5 516 inches (13.5 cm) | 5 12 inches (14.0 cm) | 5 1116 inches (14.4 cm) | 5 78 inches (14.9 cm) | 6 116 inches (15.4 cm) | 6 14 inches (15.9 cm)

|- | 14 56 inches (37.7 cm) | 10 31100 inches (26.2 cm) | 4 716 inches (11.3 cm) | 4 58 inches (11.7 cm) | 4 1316 inches (12.2 cm) | 5 inches (12.7 cm) | 5 316 inches (13.2 cm) | 5 38 inches (13.7 cm) | 5 916 inches (14.1 cm) | 5 34 inches (14.6 cm) | 5 1516 inches (15.1 cm) | 6 18 inches (15.6 cm) | 6 516 inches (16.0 cm)

|- | 15 inches (38.1 cm) | 10 2150 inches (26.5 cm) | 4 12 inches (11.4 cm) | 4 1116 inches (11.9 cm) | 4 78 inches (12.4 cm) | 5 116 inches (12.9 cm) | 5 14 inches (13.3 cm) | 5 716 inches (13.8 cm) | 5 58 inches (14.3 cm) | 5 1316 inches (14.8 cm) | 6 inches (15.2 cm) | 6 316 inches (15.7 cm) | 6 38 inches (16.2 cm)

|- | 15 16 inches (38.5 cm) | 10 53100 inches (26.7 cm) | 4 916 inches (11.6 cm) | 4 34 inches (12.1 cm) | 4 1516 inches (12.5 cm) | 5 18 inches (13.0 cm) | 5 516 inches (13.5 cm) | 5 12 inches (14.0 cm) | 5 1116 inches (14.4 cm) | 5 78 inches (14.9 cm) | 6 116 inches (15.4 cm) | 6 14 inches (15.9 cm) | 6 716 inches (16.4 cm)

|- | 15 13 inches (38.9 cm) | 10 1625 inches (27.0 cm) | 4 58 inches (11.7 cm) | 4 1316 inches (12.2 cm) | 5 inches (12.7 cm) | 5 316 inches (13.2 cm) | 5 38 inches (13.7 cm) | 5 916 inches (14.1 cm) | 5 34 inches (14.6 cm) | 5 1516 inches (15.1 cm) | 6 18 inches (15.6 cm) | 6 516 inches (16.0 cm) | 6 12 inches (16.5 cm)

|- | 15 12 inches (39.4 cm) | 10 34 inches (27.3 cm) | 4 1116 inches (11.9 cm) | 4 78 inches (12.4 cm) | 5 116 inches (12.9 cm) | 5 14 inches (13.3 cm) | 5 716 inches (13.8 cm) | 5 58 inches (14.3 cm) | 5 1316 inches (14.8 cm) | 6 inches (15.2 cm) | 6 316 inches (15.7 cm) | 6 38 inches (16.2 cm) | 6 916 inches (16.7 cm)

|- | 15 23 inches (39.8 cm) | 10 4350 inches (27.6 cm) | 4 34 inches (12.1 cm) | 4 1516 inches (12.5 cm) | 5 18 inches (13.0 cm) | 5 516 inches (13.5 cm) | 5 12 inches (14.0 cm) | 5 1116 inches (14.4 cm) | 5 78 inches (14.9 cm) | 6 116 inches (15.4 cm) | 6 14 inches (15.9 cm) | 6 716 inches (16.4 cm) | 6 58 inches (16.8 cm)

|- | 15 56 inches (40.2 cm) | 10 97100 inches (27.9 cm) | 4 1316 inches (12.2 cm) | 5 inches (12.7 cm) | 5 316 inches (13.2 cm) | 5 38 inches (13.7 cm) | 5 916 inches (14.1 cm) | 5 34 inches (14.6 cm) | 5 1516 inches (15.1 cm) | 6 18 inches (15.6 cm) | 6 516 inches (16.0 cm) | 6 12 inches (16.5 cm) | 6 1116 inches (17.0 cm) Template:Scrolling table/end

References

  1. 1.0 1.1 "Foot-measuring instrument" US patent 1725334, published 1929-08-20
  2. Aeppel, Timothy (10 January 2011). "Maker of Foot Measurer Tries to Stop Other Shoe From Dropping -- On It -- Iconic Bannock Device Hangs On By Its Toes Against Foreign-Made Rivals". United States: Wall Street Journal, Eastern edition. p. A.1. 
  3. C. F. Brannock, "Foot-measuring instrument", US patent 1682366, published 28 Aug, 1928
  4. "From the Collections: Charles Brannock". Smithsonian Institution. May 21, 2014. https://invention.si.edu/collections-charles-brannock. 
  5. Hill, Benjamin. "Chiefs give Brannock Devices their due", MiLB.com, New York, 4 June 2018. Retrieved on 15 August 2019.

Sources

  • Craig, Berry. "Why the Shoe Fits." American Heritage of Invention & Technology 16, no. 1. (Summer 2000): 64.
  • Davidson, Martha. "A Fitting Place for the Brannock Device Company Records." 2001.
  • Lukas, Paul. Inconspicuous Consumption: An Obsessive Look at the Stuff We Take for Granted, from the Everyday to the Obscure. Three Rivers Press, 1997. ISBN:0-517-88668-5
  • Brannock Device Company Records, 1925–1998
  • Aeppel, Timothy, "Maker of Foot Measurer Tries to Stop Other Shoe From Dropping - On It". Wall Street Journal, Jan. 10, 2011.

External links

  • The Brannock Device Co., Inc.
  • Charles Brannock: MIT inventor of the Week (August 2001)
  • Brannock Company history and archives
  • Brannock Device, an early Design Drawing from the Smithsonian (1920s) Smithsonian Institution Libraries



Retrieved from "https://handwiki.org/wiki/index.php?title=Engineering:Brannock_Device&oldid=3225948"

Categories: [Dimensional instruments] [Anthropometry] [American inventions]


Download as ZWI file | Last modified: 09/14/2024 11:04:04 | 3 views
☰ Source: https://handwiki.org/wiki/Engineering:Brannock_Device | License: CC BY-SA 3.0

ZWI is not signed. [what is this?]