Electron Beam Tomography

From Handwiki

Electron beam tomography
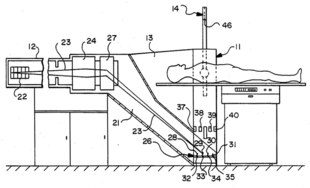
US patent 4672649 Fig 2.png
Patent illustration showing a cutaway view of an electron beam computerized tomography system. Components are 22. electron gun, 23. electron beam, 24. focus coil, 27. beam bending coil, 28-31. target rings, 14. detector array, 11. scan tube. The electron beam creates x-rays at the target rings, which radiates through the patient to the detector on the opposite end of the scan tube.
MeSHD014057
OPS-301 code3-26
[edit on Wikidata]

Electron beam tomography (EBT) is a specific form of computed tomography (CT) in which the X-ray tube is not mechanically spun in order to rotate the source of X-ray photons. This different design was explicitly developed to better image heart structures which never stop moving, performing a complete cycle of movement with each heart beat.

As in conventional CT technology, the X-ray source-point moves along a circle in space around an object to be imaged. In EBT, however, the X-ray tube itself is large and stationary, and partially surrounds the imaging circle. Rather than moving the tube itself, electron-beam focal point (and hence the X-ray source point) is swept electronically along a tungsten anode in the tube, tracing a large circular arc on its inner surface. This motion can be very fast.

Advantages and disadvantages

The principal application advantage of EBT machines, and the reason for the invention, is that because the X-ray source-point is swept electronically, not mechanically, it can be swept with far greater speed.

The major medical application for which this design technology was invented in the 1980s was for imaging the human heart, specifically to detect coronary calcium.[1] The heart never stops moving, and some important structures, such as arteries, move several times their diameter during each heartbeat. Rapid imaging is therefore important to prevent blurring of moving structures during the scan. EBT detection of calcium deposits is accurate, fast and involves lower exposure to ionising radiation than conventional CT.[2][3] Patients are exposed to radiation for a shorter period as it is faster in creating multiple images of the heart. The most advanced current commercial designs can perform image sweeps in as little as 0.025 seconds. By comparison, the fastest mechanically swept X-ray tube designs require about 0.25 seconds to perform an image sweep.[4] For reference, current coronary artery angiography imaging is usually performed at 30 frames/second or 0.033 seconds/frame; EBT is far closer to this than mechanically swept CT machines.

Given the larger size and low production volume of the EBT design, only about 120 exist in the world as of 2004,[citation needed] vs. thousands of more conventional design CT machines. Signal to noise ratio and spatial resolution are also worse compared to conventional CT.[3]

Design specifics

As in standard X-ray tubes, part of the electron current energy when hitting the tungsten target is converted into photons. However, instead of spinning a small target anode in order to dissipate waste heat, the electron current focus spot is swept along a large stationary target anode.[5]

The electron current sweep is aimed using wound copper coil magnetic deflection yokes, as in a cathode ray tube (CRT). However, the entire structure of the cathode, deflection yokes, anode and overall vacuum tube size is much larger, therefore made out of steel, not glass, with the main central open midsection of the vacuum tube hollow, leaving room for the scan table and object or person to lie while the scan is performed.

Future

Whether the inherent sweep-speed advantage will maintain commercial viability of the EBT design remains unclear at this time. As of 2002, one major company owns and offers models in both competing designs, with engineering cross-pollination of techniques between the product design teams. As of 2005, it increasingly appears that the spiral CT designs, especially those with (b) 64 detector rows, (b) 3×360°/sec rotation speeds and designed for cardiac imaging, are largely replacing the EBT design from a commercial and medical perspective. However, EBT still offers sweep speeds of effectively 50×360°/sec rotation speeds and lower radiation exposure. The latest version of the EBT eSpeed offers a 33 ms sweep time.

This technology continues to represent the fastest commercial CT temporal resolution.

Since 2008, a single development company has taken the lead on continued development, support and sales of EBT imaging products. The EBT scanner continues to stay in use globally due to the high accuracy, superior repeatability and ultra low dose abilities over high dose mechanical scanners.

References

  1. Mittal, Tarun K.; Rubens, Michael B. (2006). "Computed Tomography Techniques and Principles. Part a. Electron Beam Computed Tomography". in Anagnostopoulos, Constantinos D.; Bax, Jeroen J.; Nihoyannopoulos, Petros et al.. Noninvasive Imaging of Myocardial Ischemia. New York: Springer-Verlag. pp. 93. doi:10.1007/1-84628-156-3_6. ISBN 978-1-84628-027-6. https://link.springer.com/chapter/10.1007/1-84628-156-3_6. 
  2. Raggi, Paolo (January 2001). "Imaging of cardiovascular calcifications with electron beam tomography in hemodialysis patients". American Journal of Kidney Diseases 37 (1): S62–S65. doi:10.1053/ajkd.2001.20745. 
  3. 3.0 3.1 Peebles, C R (1 June 2003). "Non-invasive coronary imaging: computed tomography or magnetic resonance imaging?". Heart 89 (6): 591–594. doi:10.1136/heart.89.6.591. PMID 12748207. 
  4. "SOMATOM Force" (in en). https://www.healthcare.siemens.co.uk/computed-tomography/dual-source-ct/somatom-force/technical-specifications. Retrieved 29 June 2017. 
  5. Hill, David G. (2005). "Electron Beam CT of the Heart". in Schoepf, U. Joseph. CT of the Heart. Totowa, N.J.: Humana Press. pp. 15. doi:10.1385/1-59259-818-8:015. ISBN 978-1-58829-303-9. https://link.springer.com/chapter/10.1385/1-59259-818-8:015. 




Retrieved from "https://handwiki.org/wiki/index.php?title=Astronomy:Electron_beam_tomography&oldid=3340407"

Categories: [Electron beam] [X-ray computed tomography]


Download as ZWI file | Last modified: 03/21/2025 08:22:43 | 24 views
☰ Source: https://handwiki.org/wiki/Astronomy:Electron_beam_tomography | License: CC BY-SA 3.0

ZWI is not signed. [what is this?]